A shock absorber, related methods and apparatuses
US http://www.google.com/patents/US20140305660
UK https://www.ipo.gov.uk/p-ipsum/Case/PublicationNumber/GB2512895
Espacenet http://worldwide.espacenet.com/publicationDetails/biblio?DB=EPODOC&II=0&ND=3&adjacent=true&locale=en_ES&FT=D&date=20141015&CC=GB&NR=2512895A&KC=A
A logging assembly 10, comprises a length of drillpipe 11 defining an in-use downhole part; an elongate toolstring 14 supported by the drillpipe 11 and comprising a plurality of toolstring elements secured seriate one to another, the toolstring 14 being moveable longitudinally relative to the drillpipe 11 between a retracted position lying within the drillpipe 11 and an extended position partly protruding therefrom beyond the downhole extent thereof; a landing surface 24 inside the drillpipe 11, the landing surface 24 having formed therein or defining an aperture through which part of the toolstring moveably extends; and a shock absorber 29 acting between the toolstring and the landing surface and attenuating impact energy arising on movement of the toolstring to the extended position, the shock absorber 29 engageable with the landing surface 24 and limiting movement of the toolstring through the aperture, thereby retaining the toolstring 14 moveably captive relative to the drillpipe 11.

A Downhole Connection
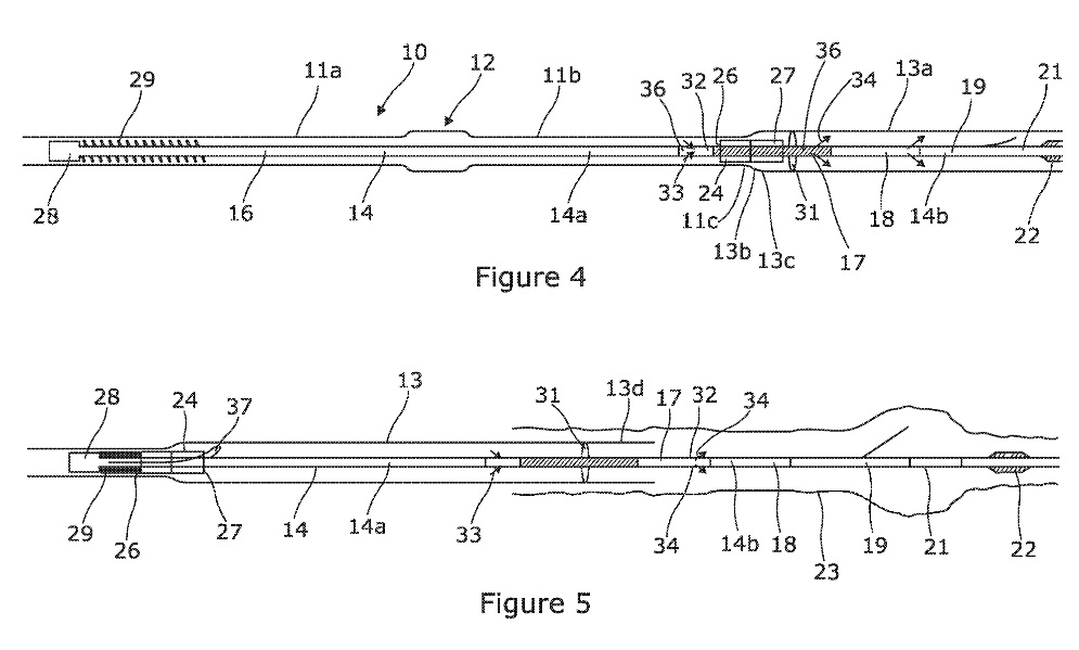
A downhole tool connection comprises (i) a tool (10) intended for downhole use and including a connection section (12) protruding therefrom in use in an uphole direction, the connection section (12) supporting two or more first connectors (16, 17, 18, 19, 21, 22, 23, 24) that are spaced from one another and operatively connected to the tool (10); and (ii) a cable carrier (26) that is moveable in an in use downhole direction towards the connection section (12). The cable carrier (26) supports (a) one or more cables (27) and (b) two or more second connectors (28, 29, 31, 32, 33, 34, 36, 37) that are spaced from one another and operatively connected to at least one said cable (27). Pairs of the first and second connectors are mutually connectable, on movement of the cable carrier (26) towards the tool connection section (12) so as to increase the proximity of the connectors of the pairs, in a manner effecting electrical transmission between the connectors of each pair, wherein at least one pair of the connectors connects inductively and at least one pair of the connectors connects conductively.
